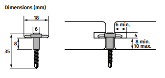
Le clip Cobra® Hybrid 8-18mm est conçu pour une fixation discrète, solide et durable des lames de terrasse composite Fiberdeck.
Grâce à sa conception hybride et à son aile inox à griffes, il assure un maintien longitudinal optimal tout en respectant la dilatation naturelle des lames. C’est la solution idéale pour un montage esthétique et fiable.

